Sun Microsystems, Inc.
spacer spacer
spacer   Sun System Handbook Home | Systems | Components | General Info | Search | Feedback 
spacer
black dot
 
black fade
 

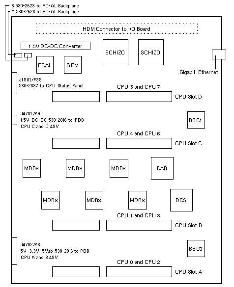
Sun Fire V880
Motherboard

A30

501-4300 501-6323
<=270-4300-09 >=270-4300-10

Sun Fire V880 Codename: Daktari

Note

The minimum operating system is Solaris 8 7/01.

Reference

Sun Fire V880 Server Service Manual, 806-6597.

WebToneWebToneWebToneWebTone
 Copyright 1994-2003 Sun Microsystems, Inc.,  901 San Antonio Road, Palo Alto, CA 94303 USA.  All rights reserved.
 Legal Terms Privacy Policy Feedback