Sun Microsystems, Inc.
spacer spacer
spacer   Sun System Handbook Home | Systems | Components | General Info | Search | Feedback 
spacer
black dot
 
black fade
 

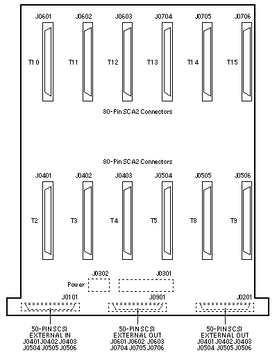
12-Slot SCSI Disk Backplane

Codename: Combo

SPARCstorage MultiPack

501-2899
Fast/Wide SCSI




12-Slot SCSI Disk Backplane

Codename: Breadbox A

Netra i 150 / Netra nfs 150 / E150

501-3081


WebToneWebToneWebToneWebTone
 Copyright 1994-2003 Sun Microsystems, Inc.,  901 San Antonio Road, Palo Alto, CA 94303 USA.  All rights reserved.
 Legal Terms Privacy Policy Feedback