Sun Microsystems, Inc.
spacer spacer
spacer   Sun System Handbook Home | Systems | Components | General Info | Search | Feedback 
spacer
black dot
 
black fade
 

Multi-Tape Backup Tray

6204 6205
7-14GB 8 mm
w/o Tape Tray
7-14GB 8 mm
1 Tape Tray

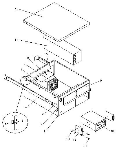
CODE PART # DESCRIPTION
1 340-2566 Chassis Enclosure
2 340-2862 Tray Retaining Bracket
3 150-1806 SCSI Address Select Switch
4
4
370-1385
370-1385
-01 Slide Rail Set, Inner 651.2 mm, Outer 742.7 mm
-03 Slide Rail Set, Inner 717.3 mm, Outer 742.7 mm
5 None Cross-Drilled Screw (use 240-1732-01)
6 None Screw Retaining Clip
7 340-2564 Fan Enclosure
8
NS
NS
370-1214
340-0265
240-1740
DC Fan, 105 CFM
Fan Fingerguard
#6-32 × 2" Screw
9 340-2641 Filler Panel (obsolete)
9 340-2835 Full-Height Filler Panel
9 340-2859 Half-Height Filler Panel
9 340-3369 Half-Height Filler Panel
10 340-2601 Connector Panel
11 300-1096 269 Watt Power Supply
11 300-1312 269 Watt Nordic Power Supply (Available 12/95)
12 340-2565 Top Cover
13 370-2200 14GB 8 mm Tape Drive, Half-Height, Dk Grey Bezel
14 240-1372 M4 0.7 × 10 mm Screw
15 340-2148 Peripheral Mounting Bracket
16
16
240-1141
240-1530
#6-32 × 1/4" Screw for 5GB
M3 0.5 × 6 mm Screw for 10GB and 14GB

800-7008
800-7340
5.0 Gbyte 8mm Tape Drive Tray Service Manual
Multi-Tape Backup Tray Service Manual


WebToneWebToneWebToneWebTone
 Copyright 1994-2003 Sun Microsystems, Inc.,  901 San Antonio Road, Palo Alto, CA 94303 USA.  All rights reserved.
 Legal Terms Privacy Policy Feedback