Sun Microsystems, Inc.
spacer spacer
spacer   Sun System Handbook Home | Systems | Components | General Info | Search | Feedback 
spacer
black dot
 
black fade
 

Multi-Tape Backup Tray

811 816 831 836 841 846
5GB 8 mm
w/o Tape Tray
5GB 8 mm
1 Tape Tray
10GB 8mm
w/o Tape Tray
10GB 8 mm
1 Tape Tray
14GB 8 mm
w/o Tape Tray
14GB 8 mm
1 Tape Tray

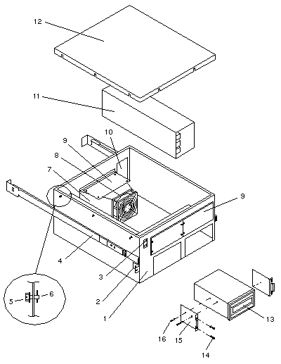
CODE PART # DESCRIPTION
1 340-2566 Chassis Enclosure
2 340-2861 Tray Retaining Bracket (obsolete)
2 340-2862 Tray Retaining Bracket
3 150-1806 SCSI Address Select Switch
4 370-1385 -01 Slide Rail Set, Inner 651.2 mm, Outer 742.7 mm
4 370-1385 -03 Slide Rail Set, Inner 717.3 mm, Outer 742.7 mm
5 None Cross-Drilled Screw (use 240-1732-01)
6 None Screw Retaining Clip
7 340-2564 Fan Enclosure
8 370-1214 DC Fan, 105 CFM
9 340-2641 Filler Panel (obsolete)
9 340-2835 Full-Height Filler Panel
9 340-2859 Half-Height Filler Panel
9 340-3369 Half-Height Filler Panel
10 340-2601 Connector Panel
11 300-1096 269 Watt Power Supply
11 300-1312 269 Watt Nordic Power Supply (Available 12/95)
12 340-2565 Top Cover
13 370-1415 5.0GB 8 mm Tape Drive, Full-Height, Black Bezel
13 370-1809 10GB 8 mm Tape Drive, Half-Height, Black Bezel
13 370-1856 14GB 8 mm Tape Drive, Half-Height, Black Bezel
14 240-1372 M4 0.7 × 10 mm Screw
15 340-2148 Peripheral Mounting Bracket
16 240-1141 #6-32 × 1/4" Screw for 5GB
16 240-1530 M3 0.5 × 6 mm Screw for 10GB and 14GB
NS 370-2344 8 mm Cleaning Kit
NS 530-1849 Address Select Switch Cable (obsolete)
NS 530-1891 Internal SCSI Bus Cable, 1.8M
NS 530-1892 DC Wire Harness
NS 530-2058 4-Drive Address Select Switch Cable
NS 540-2252 Front Panel, 56-inch Rack with 4 Tape Drive Cutouts

800-7008 5.0 Gbyte 8mm Tape Drive Tray Service Manual

800-7340 Multi-Tape Backup Tray Service Manual


WebToneWebToneWebToneWebTone
 Copyright 1994-2003 Sun Microsystems, Inc.,  901 San Antonio Road, Palo Alto, CA 94303 USA.  All rights reserved.
 Legal Terms Privacy Policy Feedback