Sun Microsystems, Inc.
spacer spacer
spacer   Sun System Handbook Home | Systems | Components | General Info | Search | Feedback 
spacer
black dot
 
black fade
 

20-40GB 1/2-Inch DLT Tape Drive

Options 6053 / 6054 / 6055 / 6056
6057 / 6058 / 6059 / TAPDLT-020A

370-2187 370-2255 370-2848
Quantum DLT4000
Single-Ended SCSI
Medium Grey Bezel
Quantum DLT4000
Single-Ended SCSI
Black Bezel
Quantum DLT4000
Single-Ended SCSI
Light Grey Bezel

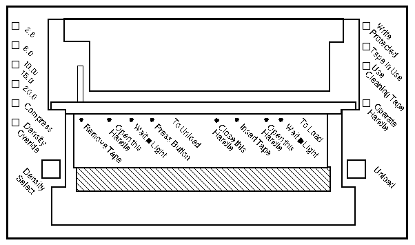
Front View
Rear View

Left Side View

Notes

  1. The minimum operating system is Solaris 2.4.
  2. The DLT4700 requires drive 370-2264.
  3. The Address Select Switch Cable for 370-2255 is 370-2333.
  4. The Address Select Switch Cable for 370-2848 is 530-2372.

References

  1. DLT4000 Tape Drive Installation and User's Guide, 802-5054.
  2. DLT4000 Tape Drive Installation and User's Guide, 802-6378.
  3. DLT4700 Auto-Loader Installation and User's Guide, 802-5688.


20-40GB 1/2-Inch DLT Tape Drive

Options 6051 / 6052 / 6071

540-2780 540-2781
Quantum DLT4000
Single-Ended SCSI
Desktop Assy/FRU
w Drive 370-2848
Quantum DLT4700
Single-Ended SCSI
Library Assy/FRU
w Drive 370-2264

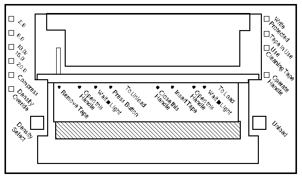
Front View
Rear View

Left Side View

Notes

  1. The minimum operating system is Solaris 2.4.
  2. The DLT4700 requires drive 370-2264.
  3. The Address Select Switch Cable for 370-2848 is 530-2372.

References

  1. DLT4000 Tape Drive Installation and User's Guide, 802-5054.
  2. DLT4000 Tape Drive Installation and User's Guide, 802-6378.
  3. DLT4700 Auto-Loader Installation and User's Guide, 802-5688.

WebToneWebToneWebToneWebTone
 Copyright 1994-2003 Sun Microsystems, Inc.,  901 San Antonio Road, Palo Alto, CA 94303 USA.  All rights reserved.
 Legal Terms Privacy Policy Feedback