Sun Microsystems, Inc.
spacer spacer
spacer   Sun System Handbook Home | Systems | Components | General Info | Search | Feedback 
spacer
black dot
 
black fade
 

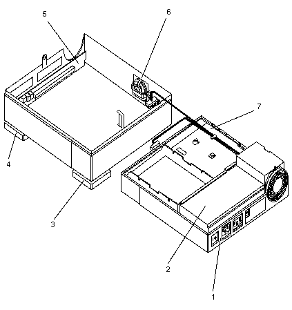
SPARCclassic X (Sun-4/10)

2-Slot SBus Logic Enclosure

CODE PART # DESCRIPTION
1 540-2231 Top Cover Assembly
2 300-1101 70 Watt Power Supply
3 340-1214 Front Foot
4 340-1451 Left Rear Foot
NS 340-1450 Rear Foot Pad
5 501-2269 I/O PCB
6
-
-
540-2260
540-2233
340-1447
Speaker Assembly
Speaker and LED
Mounting Bracket
7
-
-
540-2479
340-2594
240-1141
Peripheral Mounting Bracket Assembly
Peripheral Mounting Bracket
#6-32 x 1/4" Screw
7
-
-
340-2594
240-2145
250-1199
Peripheral Mounting Bracket 340-2594-02 1
#6-32 Shoulder Screw
Grommet
NS 240-1923 #4-40 Slotted Audio Connector Standoff
NS 240-1951 #4-40 x 3/16" Slotted Jackscrew
NS 240-1961 #4-40 x 3/16" Slotted SCSI Connector Standoff
NS 260-3059 Sun Logo
NS 260-7018 SPARCclassic X Nameplate
NS 330-1647 SCSI Connector Cover
NS 330-1648 Audio Connector Cover
NS 330-1649 Parallel Connector Cover
NS 340-1456 Right Rear Foot
NS 330-1606 Floppy Filler Panel
NS 330-1455 Vertical Support
NS 330-1458 Horizontal Support
NS 540-1982 Lockbox Assembly

801-2176 SPARCclassic/SPARCstation LX Service Manual

  1. Bracket 340-2594-02, introduced in December 1993, improves disk drive shock and vibration resistance.

WebToneWebToneWebToneWebTone
 Copyright 1994-2003 Sun Microsystems, Inc.,  901 San Antonio Road, Palo Alto, CA 94303 USA.  All rights reserved.
 Legal Terms Privacy Policy Feedback