Sun Microsystems, Inc.
spacer spacer
spacer   Sun System Handbook Home | Systems | Components | General Info | Search | Feedback 
spacer
black dot
 
black fade
 

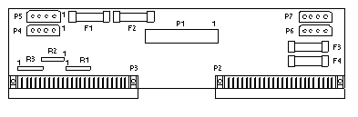
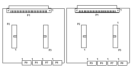
12-Slot SCSI Adapters

Sun-4/370/470 / SS670


501-1493

501-1496

Notes

  1. The 15A fuses on the 501-1493 board are part number 140-1019.
  2. The left-side SCSI tray must be installed to terminate the SCSI bus.
  3. A cable must be installed from P2 to P3 on the 501-1496 boards to complete the SCSI bus data path.

WebToneWebToneWebToneWebTone
 Copyright 1994-2003 Sun Microsystems, Inc.,  901 San Antonio Road, Palo Alto, CA 94303 USA.  All rights reserved.
 Legal Terms Privacy Policy Feedback