Sun Microsystems, Inc.
spacer spacer
spacer   Sun System Handbook Home | Systems | Components | General Info | Search | Feedback 
spacer
black dot
 
black fade
 

Sun StorEdge [tm] L280

LIBDLT1-280G LIBDLT2-280G
Desktop 280-560GB DLT [tm] 7000
HP SureStore Autoloader 718
Rackmount 280-560GB DLT7000
HP SureStore Autoloader 718

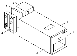
CODE PART # DESCRIPTION
1 540-3722
380-0079
540-3725
380-0080
540-3723
380-0081
Desktop Autoloader
Desktop Autoloader (replaces 540-3722)
Rackmount Autoloader
Rackmount Autoloader (replaces 540-3725)
Autoloader without Drive or Skins
Autoloader w/o Drive or Skins (replaces 540-3723)
2 540-3724 Front Door, Medium Grey
3 370-3425 Tabletop Top Cover, Medium Grey
4 370-3421 Power Supply with Fan
5 370-3424 Controller C6280-66510
6 370-3423 DLT Tape Drive with Fan
NS 150-1890 Differential SCSI Terminator with LED
NS 370-2188 Data Cartridge
NS 370-2189 Cleaning Cartridge
NS 370-3422 6-Tape Magazine
NS 370-3549 Differential SCSI Terminator without LED
NS 370-3554 SCSI Jumper Ribbon Cable, 15 cm
NS 530-2352 SCSI Cable, HD68 to HD68, 4M
NS 530-2384 SCSI Cable, HD68 to HD68, 2M
NS 530-2647 IEC320 - NEMA 5-15 Grey Power Cord
NS
NS
NS
595-4719
540-3726
370-2630
Rack Mount Kit, Option X9643A
Rack Mount Kit
Rack Mount Kit (replaces 540-3726)
- 805-3958 L280 Service Manual


WebToneWebToneWebToneWebTone
 Copyright 1994-2003 Sun Microsystems, Inc.,  901 San Antonio Road, Palo Alto, CA 94303 USA.  All rights reserved.
 Legal Terms Privacy Policy Feedback